服务热线
021-31262005


美国尼科NICO进口高温液下泵其结构形式为液下式泵,叶轮一般为离心式叶轮,也有的是轴流式和混流式叶轮。高温液下泵的作用是输送高温介质。高温液下泵采用有效冷却手段, 合理的结构和材质, 使之成为输送 550 ℃ 以下的高温熔盐(硝酸盐)和高温导热油的专用特种泵。 高温液下泵具有效率高、工作平稳、振动小、噪音低、使用寿命长、维修少、维护费用低等特点。
公称通径:25-300(mm)
流量范围:3~600(m3/h)
扬程范围:10~70 (m)
功率范围:1.5~18.5KW
转速范围:2900r/min
防爆标志:ExdeIIBT4 DIP21 TA T6
防护等级:IP54/IP65
额定电压:DC24v、220v、380v,660v,1140v(DC、AC)
温度范围:-20℃~+600℃
介质粘度: μ<300cp
工作压力:≤1.6Mpa
泵体材质:铸铁、WCB、304、316、316L
1.熔盐泵系单级、单吸悬臂式液下泵,适用于输送高温(温度≤600℃)的熔盐(KNO353%、Na2NO240%、NaNO37%),专供离子膜烧碱、氧化铝等工业部门,也可用作输送其它高温的特殊介质的液体。
2.熔盐泵,是在多年生产高温液下泵和熔盐液下泵的基础上,参考同类型产品的结构,自主开发的熔盐泵系列产品。是熔盐循环系统或者熔盐输送的专用高温泵。使用温度(T):-20℃~+600℃
3.泵为立式液下泵,外形美观,直接安装在被输送介质的储存器上,无额外占地面积,从而降低了基建投入。
4.取消了离心泵机械密封,解决了其他液下泵因机械密封容易磨损而须经常维修的烦小卤,节约了耐腐蚀液下泵的运行成本,提高了工作效率。
5.采用*的离心式双平衡叶轮,供输送不含固体颗粒等清洁的介质,振动噪音特低,效率高;采用用开式双平衡叶轮,供输送不清洁带有固体颗粒及短纤维的液体、运行平稳、不堵塞。

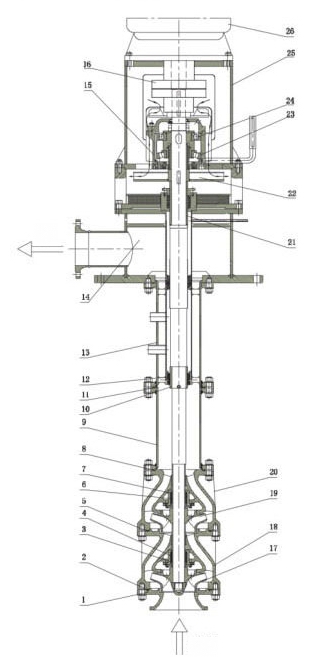
| 1 | 吸水段 | 2 | 泵体密封垫片 | 3 | 级间轴套 | 4 | 下村套 | 5 | 泵体密封垫片 | 6 | 级间轴套 |
| 7 | 下村套 | 8 | 接管密封垫片 | 9 | 下接管 | 10 | 中间轴套 | 11 | 接管密封垫片 | 12 | 中间村套 |
| 13 | 上接管 | 14 | 压水段 | 15 | 传动组件 | 16 | 联轴器 | 17 | 叶轮 | 18 | 泵体 |
| 19 | 叶轮 | 20 | 泵体 | 21 | 填料轴套 | 22 | 风叶 | 23 | 轴承 | 24 | 轴承 |
| 24 | 轴承 | 25 | 电机架 | 26 | 电机 |
| 参数 | 流量 | 扬程 | 转速 | 轴功率 | 电机 | 效率. | 泵重量 | |||
| 型号Type | 功率 | 型号 | ||||||||
| m3/h | l/s | m | rpm | kw | kw | Type | % | kg | ||
| 150GW-23 | 75 | 20.83 | 27.5 | 2980 | 7.8 | 18.5 | NK160L-2 | 72 | 610+100N | |
| 150 | 41.67 | 23 | 12.4 | 76 | ||||||
| 190 | 52.78 | 16.5 | 11.7 | 73 | ||||||
| 150GW-30 | 75 | 20.83 | 36 | 2980 | 10.22 | 22 | NK180M-2 | 72 | 620+100N | |
| 150 | 41.67 | 30 | 16.35 | 75 | ||||||
| 190 | 52.78 | 24 | 17.5 | 71 | ||||||
| 150GW2-46 | 75 | 20.83 | 55 | 2980 | 15.61 | 37 | NK200L2-2 | 72 | 645+100N | |
| 150 | 41.67 | 46 | 24.74 | 76 | ||||||
| 190 | 52.78 | 33 | 23.41 | 73 | ||||||
| 150GW2-60 | 75 | 20.83 | 72 | 2980 | 20.4 | 45 | NK225M-2 | 72 | 660+100N | |
| 150 | 41.67 | 60 | 32.7 | 75 | ||||||
| 190 | 52.78 | 48 | 35 | 71 | ||||||
| 150GW3-90 | 75 | 20.83 | 108 | 2980 | 30.7 | 75 | NK280S-2 | 72 | 700+100N | |
| 150 | 41.67 | 90 | 49.1 | 75 | ||||||
| 190 | 52.78 | 72 | 52.5 | 71 | ||||||
| 200GW-19 | 190 | 52.78 | 22 | 1480 | 15.6 | 30 | NK200L-4 | 73 | 900+170N | |
| 300 | 83.33 | 19 | 20.2 | 77 | ||||||
| 360 | 100 | 15.8 | 21.5 | 72 | ||||||
| 200GW-23 | 190 | 52.78 | 26.8 | 1480 | 19 | 37 | NK225S-4 | 73 | 900+170N | |
| 300 | 83.33 | 23 | 24.4 | 77 | ||||||
| 360 | 100 | 20.2 | 27.2 | 73 | ||||||
| 200GW2-38 | 190 | 52.78 | 44 | 1480 | 31.2 | 55 | NK250M-4 | 73 | 1020+170N | |
| 300 | 83.33 | 38 | 40.3 | 77 | ||||||
| 360 | 100 | 31.6 | 43.1 | 72 | ||||||
| 200GW2-46 | 190 | 52.78 | 53.6 | 1480 | 38 | 75 | NK280S-4 | 73 | 1020+170N | |
| 300 | 83.33 | 46 | 48.8 | 77 | ||||||
| 360 | 100 | 40.4 | 54.4 | 73 | ||||||
| 200GW3-57 | 190 | 52.78 | 66 | 1480 | 46.8 | 75 | NK280S-4 | 73 | 1140+170N | |
| 300 | 83.33 | 57 | 60.5 | 77 | ||||||
| 360 | 100 | 47.4 | 64.6 | 72 | ||||||
| 200GW3-69 | 190 | 52.78 | 80.4 | 1480 | 57 | 110 | NK315S-4 | 73 | 1140+170N | |
| 300 | 83.33 | 69 | 73.2 | 77 | ||||||
| 360 | 100 | 60.6 | 81.6 | 73 | ||||||
| 200GW4-92 | 190 | 52.78 | 107.2 | 1480 | 76 | 132 | NK315M-4 | 73 | 1260+170N | |
| 300 | 83.33 | 92 | 97.6 | 77 | ||||||
| 360 | 100 | 80.8 | 108.8 | 73 | ||||||
| 250GW-20 | 360 | 100 | 22.8 | 1480 | 30.2 | 45 | NK225M-4 | 74 | 1200+250N | |
| 480 | 133.3 | 19.8 | 32.8 | 79 | ||||||
| 540 | 150 | 17.8 | 34.9 | 75 | ||||||
| 250GW-32 | 360 | 100 | 35.5 | 1480 | 47.1 | 75 | NK280S-4 | 74 | 1280+250N | |
| 480 | 133.3 | 31.5 | 52.5 | 78.5 | ||||||
| 540 | 150 | 29.1 | 58.7 | 73 | ||||||
| 250GW2-40 | 360 | 100 | 45.6 | 1480 | 60.5 | 90 | NK280M-4 | 74 | 1400+250N | |
| 480 | 133.3 | 39.6 | 65.6 | 79 | ||||||
| 540 | 150 | 35.6 | 69.9 | 75 | ||||||
| 250GW2-63 | 360 | 100 | 71 | 1480 | 94.2 | 160 | NK315L1-4 | 74 | 1500+250N | |
| 480 | 133.3 | 63 | 105 | 78.5 | ||||||
| 540 | 150 | 58.2 | 117.3 | 73 | ||||||
| 250GW3-95 | 360 | 100 | 106.5 | 1480 | 141.2 | 220 | NK315M1-4 | 74 | 1720+250N | |
| 480 | 133.3 | 94.5 | 157.4 | 78.5 | ||||||
| 540 | 150 | 87.3 | 176 | 73 | ||||||
| 300GW-25 | 540 | 150 | 27.5 | 1480 | 54.7 | 75 | NK208S-4 | 74 | 1340+270N | |
| 660 | 183.3 | 25 | 56.6 | 79.5 | ||||||
| 750 | 208.3 | 21.6 | 58.9 | 75 | ||||||
| 参数 | 流量 | 扬程 | 转速 | 轴功率 | 电机 Motor | 效率 | 泵重量 | ||
| Date | Capacity | Head | Speed | Shaft | Eff. | Weight | |||
| Q | H | n | power | ||||||
| 型号 | Pa | 功率 | 型号 | ||||||
| Type | Power | Type | |||||||
| P | |||||||||
| m3/h | l/s | m | rpm | kw | kw | % | kg | ||
| 300GW-39 | 540 | 150 | 43 | 1480 | 85.5 | 132 | NK315M-4 | 74 | 1480+270N |
| 660 | 183.3 | 39 | 88.8 | 79 | |||||
| 750 | 208.3 | 35.6 | 97 | 75 | |||||
| 300GW2-50 | 540 | 150 | 55 | 1480 | 109.4 | 160 | NK315L1-4 | 74 | 1580+270N |
| 660 | 183.3 | 50 | 113.1 | 79.5 | |||||
| 750 | 208.3 | 43.2 | 117.7 | 75 | |||||
| 300GW2-78 | 540 | 150 | 86 | 1480 | 171 | 250 | NK355M2-4 | 74 | 1780+270N |
| 660 | 183.3 | 78 | 177.6 | 79 | |||||
| 750 | 208.3 | 71.2 | 194 | 75 | |||||
| 350GW-19 | 750 | 208.3 | 22.2 | 1480 | 60.5 | 90 | NK280M-4 | 75 | 1540+270N |
| 900 | 250 | 19.3 | 58.4 | 81 | |||||
| 1050 | 291.7 | 16.1 | 60.6 | 76 | |||||
| 350GW-30 | 750 | 208.3 | 33.5 | 1480 | 90.1 | 132 | NK315M-4 | 76 | 1650+320N |
| 900 | 250 | 30.2 | 92 | 80.5 | |||||
| 1050 | 291.7 | 25.5 | 98.6 | 74 | |||||
| 350GW-48 | 750 | 208.3 | 51.8 | 1480 | 143.1 | 200 | NK315L2-4 | 74 | 1750+320N |
| 900 | 250 | 47.9 | 146.8 | 80 | |||||
| 1050 | 291.7 | 42.5 | 162.1 | 75 | |||||
| 350GW2-60 | 750 | 208.3 | 67 | 1480 | 180.2 | 250 | NK315M2-4 | 76 | 1920+320N |
| 900 | 250 | 60.4 | 184 | 80.5 | |||||
| 1050 | 291.7 | 51 | 197.2 | 74 | |||||
| 400GW-25 | 1050 | 291.7 | 28.3 | 1480 | 106.6 | 160 | NK315L1-4 | 76 | 2170+380N |
| 1320 | 366.7 | 25 | 109.7 | 82 | |||||
| 1500 | 416.7 | 22 | 116.8 | 77 | |||||
| 400GW-39 | 1050 | 291.7 | 44.3 | 1480 | 169 | 250 | NK355M2-4 | 75 | 2280+380N |
| 1320 | 366.7 | 39 | 172.1 | 81.5 | |||||
| 1500 | 416.7 | 34.3 | 186.9 | 75 | |||||
| 400GW2-50 | 1050 | 291.7 | 56.6 | 1480 | 213.1 | 315 | NK355L2-4 | 76 | 2520+380N |
| 1320 | 366.7 | 50 | 219.3 | 82 | |||||
| 1500 | 416.7 | 44 | 233.6 | 77 | |||||
| 400GW-62 | 1050 | 291.7 | 68.5 | 1480 | 257.9 | 355 | NKLS4001-4 | 76 | 2650+400N |
| 1320 | 366.7 | 61.9 | 274.9 | 81 | |||||
| 1500 | 416.7 | 56.6 | 308.5 | 75 | |||||
| 450GW-17 | 1500 | 416.7 | 19.7 | 980 | 104.6 | 132 | NK315L1-6 | 77 | 2540+450N |
| 1740 | 483.3 | 17.4 | 98.8 | 83.5 | |||||
| 1920 | 533.3 | 15.7 | 108.1 | 76 | |||||
| 450GW-27 | 1500 | 416.7 | 29.8 | 980 | 162.4 | 220 | NK355L1-6 | 75 | 2650+500N |
| 1740 | 483.3 | 27.2 | 155.4 | 83 | |||||
| 1920 | 533.3 | 25 | 169.9 | 77 | |||||
| 450GW-43 | 1500 | 416.7 | 46.2 | 980 | 245.3 | 315 | NKLS4003-6 | 77 | 2800+500N |
| 1740 | 483.3 | 43.1 | 249.2 | 82 | |||||
| 1920 | 533.3 | 40.5 | 278.8 | 76 | |||||
| 450GW2-54 | 1500 | 416.7 | 59.6 | 980 | 324.8 | 400 | NKLS4005-6 | 75 | 3100+500N |
| 1740 | 483.3 | 54.4 | 310.8 | 83 | |||||
| 1920 | 533.3 | 50 | 339.7 | 77 | |||||
| 500GW-20 | 1920 | 533.3 | 21 | 980 | 137.3 | 200 | NK355M3-6 | 80 | 3600+900N |
| 2160 | 600 | 20 | 139.3 | 84.5 | |||||
| 2400 | 666.7 | 17.8 | 147.4 | 79 | |||||
| 500GW-31 | 1920 | 533.3 | 34 | 980 | 222.4 | 280 | NKLS4002-6 | 80 | 4000+900N |
| 2160 | 600 | 31.4 | 220 | 84 | |||||
| 2400 | 666.7 | 28.5 | 235.9 | 79 | |||||
| 500GW-50 | 1920 | 533.3 | 52.8 | 980 | 347.5 | 450 | NKLS4501-6 | 79.5 | 4300+900N |
| 2160 | 600 | 49.8 | 353.2 | 83 | |||||
| 2400 | 666.7 | 46.1 | 386.5 | 77 | |||||
| 参数 | 流量 | 扬程 | 转速 | 轴功率 | 电机 Motor | 效率 | 泵重量 | ||
| Date | Capacity | Head | Speed | Shaft | Eff. | Weight | |||
| Q | H | n | power | ||||||
| 型号 | Pa | 功率 | 型号 | ||||||
| Type | Power | Type | |||||||
| P | |||||||||
| m3/h | l/s | m | rpm | kw | kw | % | kg | ||
| 500GW2-63 | 1920 | 533.3 | 68 | 980 | 444.7 | 560 | NKLS4503-6 | 80 | 4600+900N |
| 2160 | 600 | 62.8 | 440.1 | 84 | |||||
| 2400 | 666.7 | 57 | 471.9 | 79 | |||||
| 600GW-25 | 2400 | 666.7 | 29.7 | 980 | 239.8 | 315 | NKLS4003-6 | 81 | 4800+1060N |
| 3000 | 833.3 | 25 | 238.8 | 85.6 | |||||
| 3420 | 950 | 21.6 | 245.5 | 82 | |||||
| 600GW-39 | 2400 | 666.7 | 43.9 | 980 | 354.5 | 450 | NKLS4501-6 | 81 | 5340+1060N |
| 3000 | 833.3 | 39 | 375.1 | 85 | |||||
| 3420 | 950 | 34.3 | 389.8 | 82 | |||||
| 600GW-62 | 2400 | 666.7 | 68.2 | 980 | 550.1 | 710 | NKLS5001-6 | 81 | 5340+1060N |
| 3000 | 833.3 | 62 | 599.2 | 84.5 | |||||
| 3420 | 950 | 56.7 | 651.7 | 81 | |||||
| 700GW-20 | 3420 | 950 | 22.6 | 742 | 253.5 | 315 | NKLS4501-8 | 83 | 5230+1200N |
| 3900 | 1083.3 | 20.3 | 252.1 | 85.5 | |||||
| 4380 | 1216.7 | 17.9 | 254.1 | 84 | |||||
| 700GW-32 | 3420 | 950 | 33.4 | 742 | 388.7 | 450 | NKLS4505-8 | 80 | 5440+1200N |
| 3900 | 1083.3 | 31.7 | 400.6 | 84 | |||||
| 4380 | 1216.7 | 27.3 | 401.9 | 81 | |||||
| 700GW-50 | 3420 | 950 | 53.6 | 742 | 623.8 | 800 | NKLS5601-8 | 80 | 5760+1200N |
| 3900 | 1083.3 | 50.3 | 635.7 | 84 | |||||
| 4380 | 1216.7 | 46.3 | 681.6 | 81 | |||||
| 800GW-24 | 4380 | 1216.7 | 27.4 | 742 | 398.4 | 500 | NKLS5001-8 | 82 | 6120+1380N |
| 5100 | 1416.7 | 24.3 | 401.6 | 84 | |||||
| 5600 | 1555.6 | 22 | 419.2 | 80 | |||||
| 800GW-38 | 4380 | 1216.7 | 41.4 | 742 | 602 | 710 | NKLS5004-8 | 82 | 6340+1380N |
| 5100 | 1416.7 | 37.9 | 626.4 | 84 | |||||
| 5600 | 1555.6 | 34.8 | 663.2 | 80 | |||||
| 800GW-60 | 4380 | 1216.7 | 64.8 | 742 | 953.9 | 1120 | NKLS6301-8 | 81 | 6670+1380N |
| 5100 | 1416.7 | 60.2 | 995 | 84 | |||||
| 5600 | 1555.6 | 56.7 | 1054.1 | 82 | |||||
| 900GW-21 | 5600 | 1555.6 | 22.9 | 590 | 425.7 | 500 | NKLS5003-10 | 82 | 7120+1630N |
| 6300 | 1750 | 20.8 | 424.7 | 84 | |||||
| 7000 | 1944.4 | 18.6 | 443 | 80 | |||||
| 900GW-33 | 5600 | 1555.6 | 35.1 | 590 | 652.6 | 800 | NKLS6302-10 | 82 | 7410+1630N |
| 6300 | 1750 | 32.6 | 665.6 | 84 | |||||
| 7000 | 1944.4 | 29.7 | 707.4 | 80 | |||||
| 900GW-52 | 5600 | 1555.6 | 56.7 | 590 | 1073.8 | 1250 | NKLS6303-10 | 80.5 | 7820+1630N |
| 6300 | 1750 | 51.7 | 1081.3 | 82 | |||||
| 7000 | 1944.4 | 48.3 | 1180 | 78 | |||||
| 1000GW-25 | 7000 | 1944.4 | 28.7 | 590 | 667.6 | 800 | NKLS5602-10 | 82 | 8240+1950N |
| 8400 | 2333.3 | 25.2 | 678.6 | 85 | |||||
| 9400 | 2611.1 | 22.4 | 708.4 | 81 | |||||
| 1000GW-39 | 7000 | 1944.4 | 43.7 | 590 | 1029.1 | 1250 | NKLS6303-10 | 81 | 8510+1950N |
| 8400 | 2333.3 | 39.4 | 1061 | 85 | |||||
| 9400 | 2611.1 | 35.1 | 1112.1 | 82 | |||||
| 1000GW-63 | 7000 | 1944.4 | 68.2 | 590 | 1606 | 2000 | NKL2000-10 /1703-1 | 81 | 8920+1950N |
| 8400 | 2333.3 | 62.6 | 1705.8 | 84 | |||||
| 9400 | 2611.1 | 58.1 | 1860.3 | 80 | |||||
| 1000GW-63A | 6650 | 1847.2 | 61.6 | 590 | 1395.3 | 2000 | NKL2000-10 /1703-1 | 80 | 8920+1950N |
| 7980 | 2216.7 | 56.5 | 1480.3 | 83 | |||||
| 8930 | 2480.1 | 52.4 | 1593.6 | 80 | |||||
| 注:需要更高扬程的可增加级数,最高可达400米 | |||||||||