服务热线
021-31262005


美国尼科NICO进口离心塑料泵采用增强聚丙烯(RPP),一次注塑成型,泵为立式结构,进出口径相同,且位于同一中心线上,外形紧凑美观,占地面积小,可象阀门一样十分方便地安装于管路之中。产品机械强度高,耐腐蚀性能强,介质不与金属接触,轴封采用外装式机械密封使用寿命长,效率高、价格宜,耐腐蚀性能比玻璃钢泵更优越,使用介质范围更广。其采用的增强聚丙烯材质具有以下特性:增强聚丙烯PP常用玻璃纤维作为增强材料,增强不仅保留了PP原有的优良性能,还使其拉伸强度、耐热性、刚性、硬度、耐蠕变性、线膨胀系数以及成型收缩率等性能明显改善,比如可以使拉伸强度提高一倍,热变形温度提高50%,线膨胀系数降低一倍。
公称通径:25-80(mm)
流量范围:4-22(m3/h)
扬程范围:7-150(m)
吸程范围:6.5m
功率范围:0.37-4kw
转速范围:2900r/min
防爆标志:ExdeIIBT4 DIP21 TA T6
防护等级:IP54/IP65
额定电压:220v、380v
温度范围:-20℃~120℃
工作压力:≤1.6Mpa
泵体材质:RPP、PVC、CPVC、UPVC
化工业:酸、碱、溶剂、悬浮物、分散体系。
石化业:稠油、油脂、泥浆、污泥等。
涂料业:树脂、溶剂、着色剂、油漆等。
日化业:洗涤剂、香波、乳液、乳剂、手霜、表面活化剂。
陶瓷业:泥浆、瓷浆、石灰浆、陶土浆。
采矿业:煤浆、岩浆、泥浆、砂浆、润滑油等。
水处理:石灰浆、软性沉淀物、污水、化学品、废水。
食品业:液态半固体、巧克力、盐水、醋、糖浆、菜油、大豆油、蜂蜜。
饮料业:酵母、糖浆、浓缩物、气液混合物、葡萄酒、果汁、玉米浆等。
医药业:溶剂、酸、碱、植物提炼液、软膏等各类药品料液。
造纸业:粘结剂、树脂、油漆、油墨、颜料、双氧水等。
电子业:溶剂、电镀液、清洗液、硝酸、废酸、腐蚀性酸、抛光液。
纺织业:染料化学品、树脂、胶等。
建筑业:水泥浆、陶瓷瓦粘结剂、岩石浆、天花板面漆等。
汽车业:抛光乳剂、油、冷却剂、汽车底漆、油乳胶、清漆、清漆添加剂、脱脂液、油漆等。
家具业:粘结剂、清漆、分散体系、溶剂、色剂、白木胶、环氧树脂、淀粉粘结剂。
冶金、铸造和染色业:金属浆、氢氧化物和炭化物浆、灰尘洗涤浆等。

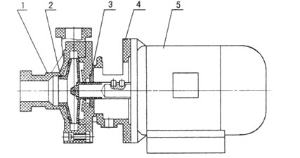
| 1 | 泵壳 | 2 | 叶轮-轴总成 | 3 | 机械密封 | 4 | 泵盖 | 5 | 电机 |
| 型号规格 | 流量 m3/h | 扬程 m | 转速 r/min | 效率 % | 吸程 m | 进/出口径 mm | 配套电机 KW |
| 25LX -4-11 | 4 | 11 | 2900 | 46 | 5 | 25×25 | 0.55 |
| 32LX-6-12 | 6 | 8 | 2900 | 47.6 | 6 | 32×32 | 0.75 |
| 40 LX-12 -18 | 12 | 18 | 2900 | 54.43 | 6 | 40×40 | 1.5 |
| 50 LX -18-22 | 18 | 22 | 2900 | 51.74 | 6 | 50×50 | 2.2 |
| 40 LX-18 -25 | 18 | 25 | 2900 | 55.63 | 6 | 40×40 | 3 |
| 50 LX-22 -28 | 22 | 28 | 2900 | 53.63 | 6 | 50×50 | 4 |
| 型 号 | 口径mm | 流量 (m3/h) | 扬程 (m) | 功率 (KW) | 转速 (r/min) | 吸程 (m) | 电压 (V) | |
| 进口 | 出口 | |||||||
| LX(FS)20-20-90 | 20 | 15 | 3 | 6 | 0.37 | 2900 | 3 | 220/380 |
| LX(FS)32-25-100 | 32 | 25 | 5 | 7 | 0.55 | 2900 | 6 | 220/380 |
| LX(FS)32-25-105 | 32 | 25 | 6.3 | 8 | 0.75 | 2900 | 6 | 220/380 |
| LX(FS)40-32-125 | 40 | 32 | 12.5 | 20 | 1.5 | 2900 | 6 | 380 |
| LX(FS)50-40-130 | 50 | 40 | 20 | 17 | 2.2 | 2900 | 3 | 380 |
| LX(FS)65-50-150 | 65 | 50 | 20 | 25 | 4 | 2840 | 5.5 | 380 |